Усиление фундамента - Техинформатор - Завод КТ ТРОН – российский производитель материалов для гидроизоляции, защиты и ремонта строительных конструкций.

Усиление фундамента

Работы по реконструкции зданий, как правило, начинают с усиления фундамента. Однако следует учитывать, что работы по усилению и изменению конструкций фундаментов могут вызвать деформацию основания и осадку фундамента.

Важные моменты:

Чтобы система «основание-фундамент» работала безотказно, следует придерживаться установленных правил.

  1. Необходимо провести инженерно-геологические изыскания, которые должны обеспечить комплексное изучение условий площадки реконструируемого здания (подземного сооружения). Цель изысканий - получения исходных данных для проектирования усиления фундаментов и укрепления основания.

  2. Необходимо провести обследование существующих фундаментов. Составлением технического заключения о возможности их использования в дальнейшем и рекомендации по способам усиления конструкций.

  3. На основании п.1 и п.2 делается проектирование. В проекте учитываются расчетные значения физико-механических характеристик грунтов оснований и материалов существующих фундаментов. Кроме того, учитывается состояние конструкций подземной, надземной частей. Проектирование и устройство оснований фундаментов реконструируемых зданий и подземных сооружений следует выполнять в соответствии с действующими нормативными документами. 

В проекте принимаются решения по устройству или усилению оснований, при которых возможно максимально использовать существующие конструкции фундаментов.

Способы усиления основания:

Закрепление грунтов и усиление грунта основания способом инъекции химических растворов. Инъекционное закрепление распространяется на грунты, обладающие достаточной водопроницаемостью, включая песчаные, крупнообломочные, трещиноватые скальные и полускальные грунты. Химические материалы, применяемые для закрепления грунтов - силикат натрия (жидкое стекло), хлористый кальций, ортофосфорная и кремнефтористоводородная кислоты, алюминат натрия, этилацетат и другие. 

Возможно инъецирование цементными суспензиями. Цементация контакта фундамент-грунт выполняется при наличии пустот под подошвой фундамента. Существуют две разновидности технологии нагнетания закрепляющих реагентов в грунты: 

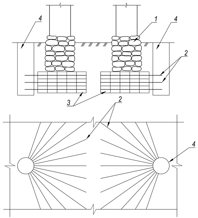
  • Вертикальная технология, при которой нагнетание реагентов осуществляется через вертикально или наклонно заглубляемые инъекторы сверху вниз, с открытой поверхности земли, с мостков или с полов помещений. (Рис. 1)

рис 1 Усиление фундамента



Рис. 1. Вертикальная технология. 1 – фундамент, 2 – инъекторы, 3 – закрепленные массивы по заходкам

  • Горизонтальная технология, когда нагнетание реагентов осуществляется через горизонтально или несколько наклонно заглубленные инъекторы из специально оборудованных для этой цели технологических выработок (траншей, штолен, колодцев) (Рис. 2).

рис 2 Усиление фундамента


Рис. 2. Горизонтальная технология. 1 – фундамент, 2 – инъекторы, 3 – закрепленные массивы по заходкам, 4 – технологические колодцы.

Инъецирование «Микролитом GL-01» 

«Микролит GL-01» - сухая смесь, одним из основных компонентов которой, кроме цемента, является бентонитовая глина, главная особенность которой - объемное расширение при контакте с водой. Материал применяется для уплотнения окружающих подземные конструкции грунтов с целью повышения их водонепроницаемости и усиления прочности. 

Для нагнетания «Микролита GL-01» используют специальное оборудование для инъектирования цементных растворов. Возможно использование промышленных растворонасосов с рабочим давлением не более 10 бар (1 МПа).

Расход сухой смеси рассчитывается по данным инженерно-геологических изысканий и напрямую зависит от пористости конструкции и состояния грунтов.

Раствор нагнетают под давлением 0,3—1 МПа растворонасосами или пневмонагнетателями через предварительно заглубленные трубки-инъекторы диаметром 33—60 мм, имеющие в нижней части отверстия диаметром 4—6 мм. Радиус действия инъекторов ориентировочно принимают для трещиноватых скальных грунтов 1,2—1,5 м, для крупнообломочных грунтов 0,75—1 м, для крупных песков 0,5—0,75 м, для песков средней крупности 0,3—0,5 м.

Расход раствора «Микролита GL-01» составляет 20—40% объема закрепляемого грунта. Упрочнение грунта наступает после схватывания раствора.

Особенности укрепления водонасыщенных грунтов

Для закрепления водонасыщенных глинистых грунтов и пылеватых песков наиболее приемлемы методы электросиликатизации и электрохимический.

Электросиликатизация грунтов основана на сочетании закрепления грунтов способом силикатизации и обработки их постоянным током. Способ применяется в грунтах с коэффициентом фильтрации 0,5-0,005 м/сут. Для электросиликатизации используют растворы жидкого стекла и хлористого кальция. Инъекторы - электроды погружают в грунт основания с обеих сторон фундамента под углом 10-15° через каждые 0,6-0,8 м по его длине. Закрепление ведется захватками вдоль фундамента снизу-вверх, расход энергии (100-120 В) составляет для закрепления 1 м3 грунта 10-15 кВт*ч.

Электрохимический способ применяется для водонасыщенных грунтов с коэффициентом фильтрации 0.01-0,000001 м/сут. В инъекторы - аноды подают раствор СаСl2, потом Al2 (SO4) или Fe2(SO4), а из инъекторов - катодов откачивают поступающую в них воду. Расход энергии здесь составляет 60-100 кВт·ч/м3.

Струйная цементация грунтов

Струйная цементация - метод закрепления грунтов, основанный на одновременном разрушении и перемешивании грунта высоконапорной струей цементного раствора.

В результате струйной цементации грунта в нем образуются цилиндрические колонны диаметром 600—2000 мм.

Это достигается следующим способом:

  • Бурится скважина диаметром 112—132 мм до проектной отметки (прямой ход)

  • Буровая колонна поднимается с вращением и одновременной подачей струи цементного раствора под давлением до 500 атм. (обратный ход).

  • В тело незатвердевшей грунтобетонной колонны вводится армирующий элемент.

С помощью технологии струйной цементации грунтов возможно решение следующих задач:

  • Устройство подпорных стен и ограждение котлованов.

  • Усиление всех типов фундаментов.

  • Создание противофильтрационных завес и экранов.

  • Армирование грунтов.

  • Закрепление грунтов при проходке тоннелей и строительстве автодорог.

  • Укрепление откосов и склонов.

  • Устройство свай.

  • Контролируемое заполнение подземных выработок и карстовых пустот.