Ремонт швов бетонирования. Заделка усадочных швов
- КТтрон-2 (цементный состав для герметизации статичных швов)
- КТгиперфлекс (однокомпонентный полиуретановый герметик)
- КТтрон-8 (водяная пробка)
- КТтрон-3 (тиксотропный ремонтный состав)
- КТтрон-3 Т500 (тиксотропный ремонтный состав)
- КТтрон-3 Т400 (безусадочный быстротвердеющий тиксотропный состав)
- КТгиперфлекс К40 (однокомпонентный полиуретановый герметик)
- КТтрон-3 Р600 (тиксотропный ремонтный состав)
- Храм Иоанна Златоуста г. Сочи
- Финансовый колледж, переход. г.Пермь
- Бассейн ДЮСШ г.Южно-Сахалинск
- Подвал частного дома в Южно-Сахалинске
- Бассейн в гостинице RAMADA
- Водоканал г.Миасс
- Транснефть Нефтяные насосы
- СВЕЗА Верхняя Синячиха г.Челябинск
- Коллектор г.Казань
- Биологические очистные сооружения г. Пермь Здание решеток
- Бассейн, г. Партизанск
- ТРЦ «Сити-Молл» г.Новокузнецк
- Водоканал г.Белорецк
- Водоканал г.Челябинск д.Новосинеглазово
- Северский трубный завод г.Полевской
- Акрон г.Великий Новгород, Очистные сооружения
- Гидроизоляция резервуара г.Новороссийск
- Частный бассейн г.Новороссийск
- Учебный театр ЕГТИ г.Екатеринбург
- Кардиоцентр Город сердца
- Плавучий док г. Владивосток. Судоремонтная Компания "Первомайское"
- Ремонт крыльца и отмостки частного дома
- Паркинг в р-не Академический, Екатеринбург
- Водоканал г.Нижняя Тура - ремонт песколовки
- Уралмашзавод г.Екатеринбург
- Белоярская АЭС
- Бар Британия г.Екатеринбург
- Водоканал г.Челябинск мкр-н.Сосновка
- Соборная мечеть «Ар-Рахим» г.Уфа
- Водоканал г.Псков
- ООО "Газпром добыча Оренбург"
Швы бетонирования (другие названия: рабочий шов, холодный шов) образуются вследствие остановок в процессе бетонирования, когда последующий слой бетонной смеси укладывают на затвердевший слой бетона. Они являются местом потенциальной протечки. В конструкциях типа резервуар, бассейн и т.п. по ним обязательно будет уходить вода. Если мы говорим о стене заглубленного помещения, по этим швам возможно проникновение внутрь грунтовых вод. А это сырость, плесень, одним словом - невозможность эксплуатации.
Как мы рекомендуем устранять эту проблему?
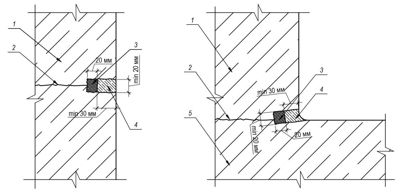
Для ремонта холодного шва следует использовать шовный ремонтный материал «КТтрон-2» по следующей технологии (см. рисунок 1):
- Подготовка поверхности
Расшить шов по всей длине на ширину не менее 20 мм и глубину 30 мм. Обращаем внимание на то, что цифры примерно-рекомендуемые. Именно такого сечения штрабу необходимо создать для оптимальной работы шовного материала по гидроизоляции холодного шва.
Перед нанесением «КТтрон-2» штрабу тщательно промыть водой аппаратом высокого давления.
Следует отметить, что материал обладает эффектом проникающей гидроизоляции и поэтому поверхность перед его нанесением не нуждается в обработке проникающим материалом «КТтрон-1», что ведет к экономии затрат на производство гидроизоляции на 30-35 %.
- Приготовление раствора
Не будем подробно останавливаться на этом аспекте – инструкция есть на каждой упаковке «КТтрон-2», будь то мешок или ведро. Остановлюсь лишь на тонкостях. Если собираетесь приготовить смесь в емкости, которая ранее использовалась под строительные растворы, тщательно очистите ее и предварительно промочите водой. Тогда оставшаяся по стенам пыль и следы старого раствора не смогут взять на себя воду, рассчитанную строго для затворения смеси. И напомню, при замесе мы рекомендуем засыпать сухую смесь в заранее отмеренное количество воды при тщательном перемешивании.
- Процесс нанесения
Поверхность штрабы перед нанесением промочить, не допуская скопления свободной влаги. Штрабу заполнить раствором вручную, тщательно продавливая каждый нанесенный участок.

а) б)
а) – холодный шов, образовавшийся в результате перерывов бетонирования;
б) – холодный шов по примыканию пол-стена;
1 – монолитная стена; 2 – холодный шов; 3 – материал «КТтрон-2»;
4 – монолитный пол
Рисунок 1. Ремонт швов бетонирования
Если по шву бетонирования идет протечка воды, то в ремонтные работы включается еще одна технологическая операция – быстрое устранение протечки.
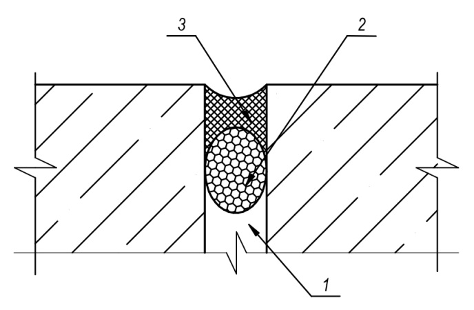
Для этого применяют сверхбыстротвердеющий ремонтный материал «КТтрон-8» по следующей технологии (см. рисунок 2):
-
Подготовка поверхности
Заранее подготовленный под зачеканивание материалом «КТтрон-2» шов, при наличии в нем протечки, следует углубить еще на 20-30 мм.
-
Приготовление раствора
Материал «КТтрон-8» следует готовить в небольшом количестве, достаточном для возможности за короткий промежуток времени (1-1,5 минуты) замесить и уложить в подготовленный шов. Раствор следует замешивать консистенции «вязкого пластилина».
-
Процесс нанесения
Подготовленную порцию раствора «КТтрон-8» формируем по размеру и вдавливаем вглубь штрабы. Уложенный по месту материал следует сильно прижать к основанию и держать в прижатом состоянии не менее одной – полутора минут, до полного схватывания. Последующие порции материала укладывают, прижимая одновременно и к штрабе, и к ранее уложенным участкам до полной остановки протечки.

а) б)
а) – холодный шов, образовавшийся в результате перерывов бетонирования;
б) – холодный шов по примыканию пол-стена;
1 – монолитная стена; 2 – холодный шов; 3 – материал «КТтрон-8»;
4 – материал «КТтрон-2»; 5 – монолитный пол
Рисунок 2. Ремонт швов бетонирования с протечкой
Усадочный шов устраивается в конструкциях из монолитного бетона.
Бетон при твердении и наборе прочности уменьшаются в объеме. Усадочные швы препятствуют возникновению хаотичных трещин, расширяясь по мере набора прочности бетоном. По окончании усадки бетона эти швы наглухо заделывают.
Для заделки усадочных швов мы рекомендуем использовать ремонтную смесь «КТтрон-3» или «КТтрон-3 Т500», в зависимости от марочной прочности бетона конструкции. Она идеально перекрывает усадочный шов, придавая конструкции монолитность.
Возможно заполнение усадочных швов герметиком «КТгиперфлекс». Этот метод применяется в тех случаях, когда есть возможность подвижек конструкции. Следует обратить внимание на правильность нанесения герметика в шов (см. рисунок 3).

1 – усадочный шов; 2 – шнур типа «Вилатерм»; 3 – материал «КТтрон-гиперфлекс»
Рисунок 3. Схема заполнения усадочных швов в условиях возможных подвижек конструкций