Ремонт дефектов бетона с оголением арматуры
- КТтрон-3 (тиксотропный ремонтный состав)
- КТтрон-3 Т500 (тиксотропный ремонтный состав)
- КТтрон-3 Л400 (литьевой ремонтный состав)
- КТтрон-3 Л600 (литьевой высокопрочный ремонтный состав)
- КТтрон-4 Т600 (быстротвердеющий тиксотропный ремонтный состав)
- КТтрон-4 Л600 (быстротвердеющий литьевой ремонтный состав)
- КТтрон-праймер (состав для защиты арматуры)
- КТтрон-3 Т400 (безусадочный быстротвердеющий тиксотропный состав)
- КТтрон-3 Р600 (тиксотропный ремонтный состав)
- Водоканал г.Нижняя Тура - ремонт песколовки
- Беломорско-Балтийский канал
- Кардиоцентр Город сердца
- Плавучий док г. Владивосток. Судоремонтная Компания "Первомайское"
- Финансовый колледж, переход. г.Пермь
- Паркинг в р-не Академический, Екатеринбург
- ТРЦ «Сити-Молл» г.Новокузнецк
- Акрон г.Великий Новгород, Очистные сооружения
- Уралмашзавод г.Екатеринбург
- ЖКХ г.Пермь. Ремонт лотковой кровли
- Водоканал г.Белорецк
- Учебный театр ЕГТИ г.Екатеринбург
- Водоканал г.Миасс
- Транснефть Нефтяные насосы
- Птицефабрика Волжанин. Гидроизоляция резервуаров. г.Рыбинск
- ОАО "Птицефабрика "Заря", г. Красноярск
- Мост через р. Чепца, г. Глазов
- Жилой комплекс, г. Уфа
- Чусовской мост, Пермь.
- Лотковая кровля, г. Омск
- Здание Сбербанка, г. Ставрополь
- Фонтан в городском парке культуры и отдыха, г. Янаул
- Водоканал г.Челябинск пос.Новосинеглазово
Ремонт дефектов бетона с оголением арматуры
Выбор способа и методов ремонта бетона с оголением арматуры зависит от степени разрушения конструкции. В зависимости от глубины дефектов бетона можно выделить следующие степени разрушения конструкции:
- поверхностные разрушения до 20 мм
- средняя степень разрушения 20-40 мм
- высокая степень разрушения 40-100 мм
- очень высокая степень разрушения более 100 мм
Поверхностные разрушения до 20 мм, как правило, не затрагивают арматуру.
Дефекты бетона средней степени разрушения и выше диагностируют участки оголения металлической арматуры. Ремонт дефектов в этом случае требуется производить с устройством антикоррозийной защиты металлической арматуры, а в иных случаях с заменой самой арматуры или ее части.
Защита арматуры от коррозии обязательна и производится до укладки ремонтных материалов. Это значительно уменьшает вероятность образования нового коррозионного слоя в результате воздействия на арматуру влажности, агрессивных сред и т.д. Для защиты арматуры от коррозии применяются пассивирующие составы, которые создают на поверхности металла препятствующий коррозии защитный слой.
В системе ремонтных и гидроизоляционных материалов «КТтрон» для защиты арматуры от коррозии служит состав «КТтрон-праймер».
Выбор технологического решения для ремонта дефектов бетона с оголением арматуры
Выбор технологического решения по ремонту конструкции при наличии участков оголения арматуры зависит от степени коррозии (см. таблицу 1).
Таблица1 – Выбор технологического решения ремонта конструкции в зависимости от степени коррозии арматуры
| Степень коррозии арматуры | Технологическое решение |
|
1-5 % |
|
|
5-30 % |
|
|
>30 % |
|
Технология ремонта дефектов бетона с оголением арматуры
Технология ремонта дефектов бетона, в том числе дефектов с оголением арматуры, подробно описана в СТО КТ 62035492.007-2014 «Материалы и системы «КТ ТРОН®» для усиления, ремонта и гидроизоляции строительных конструкций», в п. 3 Технология производства работ.
Особенности ремонта дефектов бетона с оголением арматуры
- Глубина расчистки бетона за арматурой должна быть минимум 20 мм.
- Оголенную арматуру лучше всего очищать от коррозии при помощи пескоструйного аппарата.
- При отсутствии такой возможности, следует очистить арматуру от следов коррозии металлическими щетками, промыв дополнительно струей воды под давлением 300 атм.
- При разрушении арматуры более чем на 30 %, следует ее заменить на новую.
- На очищенную арматуру следует нанести защитный состав «КТтрон-праймер».
Произвести укладку ремонтного материала, необходимого для конкретного технологического решения, одним из двух методов:
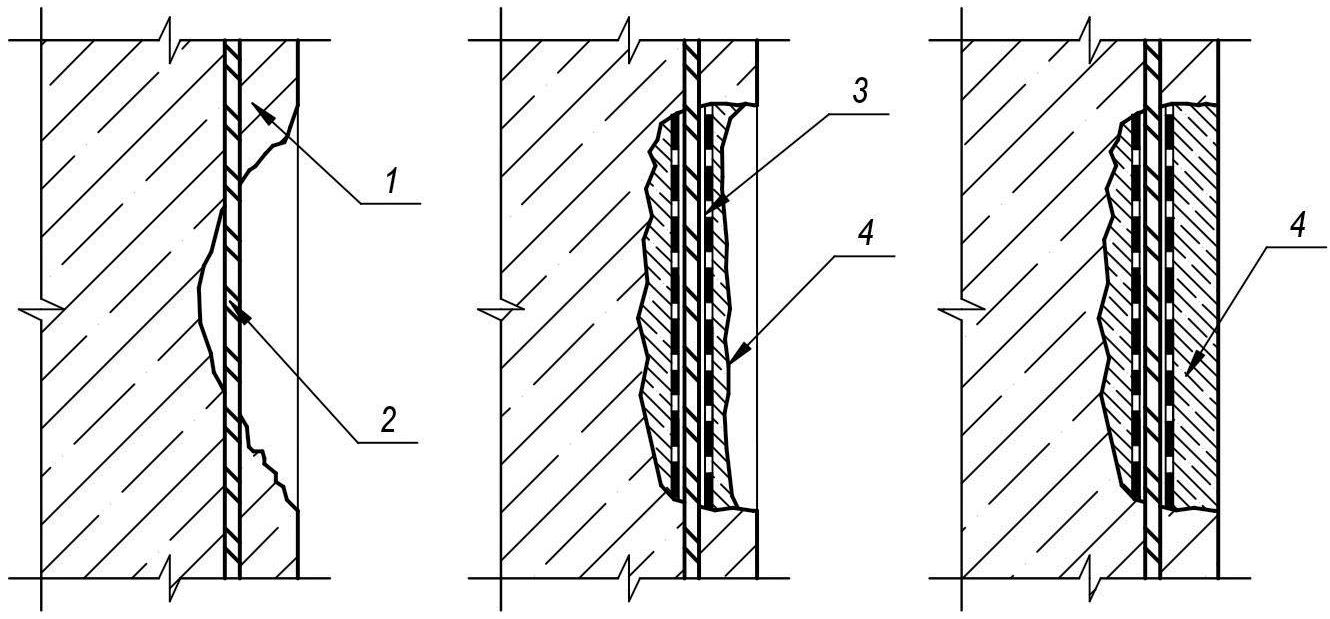
- Заполнить полость дефекта тиксотропным материалом «КТтрон-3», «КТтрон-3 Т500» или «КТтрон-4 Т600» методом послойного нанесения (см. рисунок 1). При этом толщина каждого слоя должна быть не более 30 мм.

а) б) в)
а) – дефект строительной конструкции с оголением арматуры
б),в) – вскрытие и ремонт дефекта1 – строительная конструкция; 2 – арматура; 3 – материал «КТтрон-праймер»;
4 – материал «КТтрон-3», «КТтрон-3 Т500» или «КТтрон-4 Т600»
Рисунок 1. Ремонт дефектов бетона с оголением арматуры тиксотропными материалами -
Заполнить полость дефекта методом заливки литьевым материалом «КТтрон-3 Л400», «КТтрон-3 Л600» или «КТтрон-4 Л600» (см. рисунок 2).

а) б) в)
а) – дефект строительной конструкции с оголением арматуры;
б),в) – вскрытие и ремонт дефекта;1 – строительная конструкция; 2 – арматура; 3 – материал «КТтрон-праймер»;
4 – опалубка; 5 – материал «КТтрон-3 Л400», «КТтрон-3 Л600» или «КТтрон-4 Л600»
Рисунок 2. Ремонт дефектов бетона с оголением арматуры литьевыми материалами.
Указанные материалы относятся к категории материалов для конструкционного ремонта. Применение данных ремонтных материалов позволяет восстанавливать не только геометрические размеры конструкций, но и их несущую способность. В восстановленной конструкции основа и ремонтный материал работают как единое целое.
Для более полного совпадения характеристик ремонтного материала с основанием следует придерживаться следующего правила. Для ремонта бетонов с марочной прочностью ниже М300 следует применить материалы «КТтрон-3» и «КТтрон-3 Л400». А для более прочных оснований применить материалы «КТтрон-3 Т500», «КТтрон-3 Л600», «КТтрон-4 Т600», «КТтрон-4 Л600».